索引号
G0C550-2001-2025-00035
发文字号:
发文机关:
县行政审批和政务服务管理局
失效时间:
公开形式:
主动公开
发布时间:
2025年11月18日
成文时间:
2025年11月18日
有效性:
有效
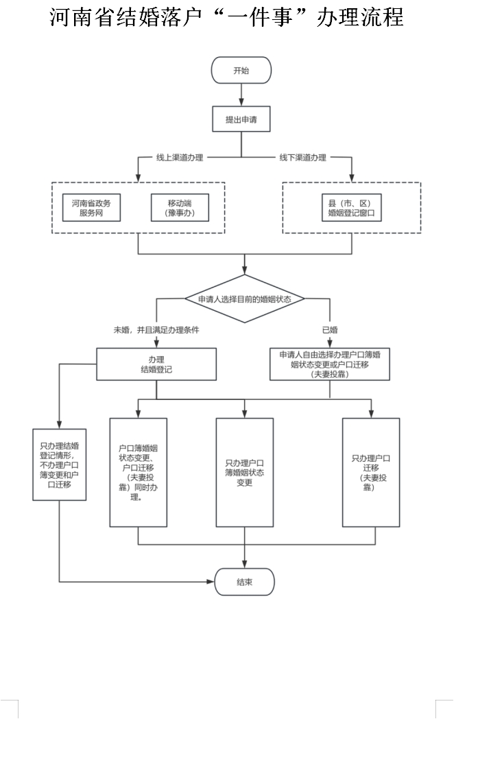
新乡县结婚落户一件事办事指南
来源:县行政审批和政务服务管理局 时间:2025-11-18 浏览量:
分享:




